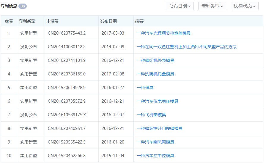
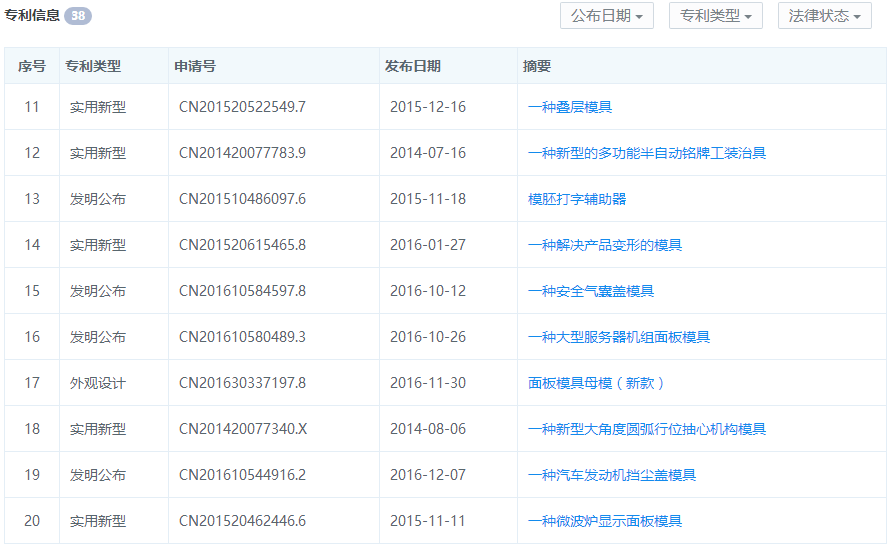
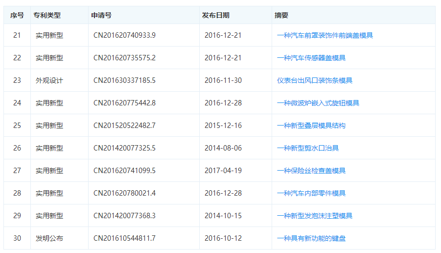
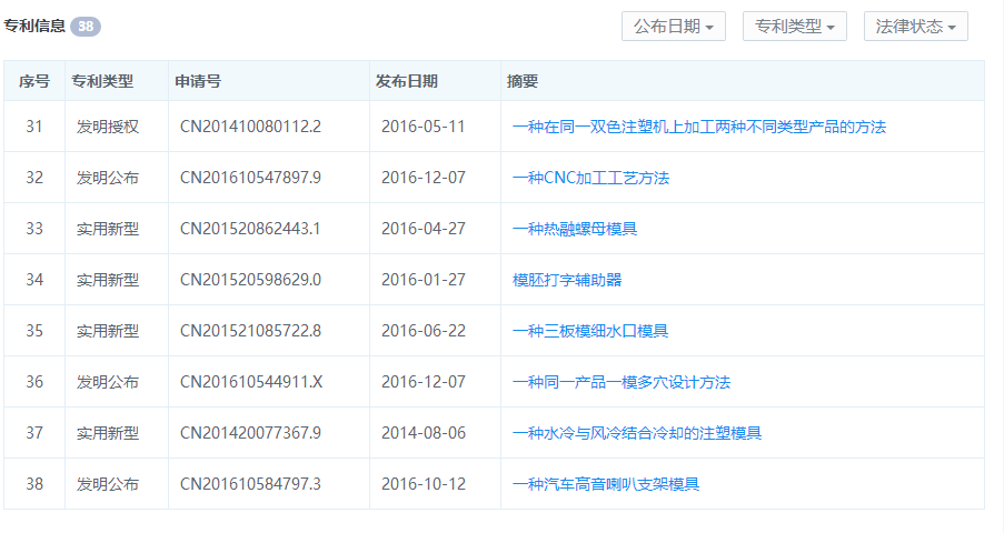
乐竞网页版入口厂的实用新型专利-实例说明
2018-09-09 23:06:20
乐竞网页版入口厂的实用新型专利, 可以申请哦, 不用按照软著去做。 向其他乐竞网页版入口厂学习,方能提高。




----------------------------------------------------------------------------------------------------------------------------------------------------------

